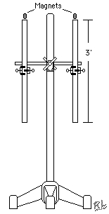
5K20.25 • Eddy Currents: Magnets and Tubes
Instructions / Notes:
- Drop a magnet and a dummy magnet simultaneously down the two aluminum tubes.
- It takes approximately six seconds for the magnet to completely fall through a five foot tube.
Photo Shows the Demonstration Used at UT Austin.
Last updated on April 20, 2023
